Zum Inhalt springen

TC216-M12-L0-WY80FC

https://www.zerspanungsexperten.de/web/image/product.template/38223/image_1920?unique=b8885de

HSS-E Maschinen-Gewindebohrer TC216-M12-L0-WY80FC

Dieses Produkt ist nicht länger verfügbar.

Spezifikationen

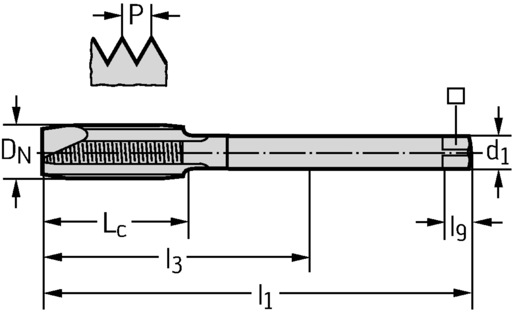
Gewindegrösse D N

M 12

Gewindesteigung P (mm)

1,75

Gesamtlänge l 1 (mm)

110

Schneidenlänge L c (mm)

23

Nutzbare Länge l 3 (mm)

83

Schaftdurchmesser d 1 (mm)

9

Spannbreite ⃞ (mm)

7

Vierkantlänge l 9 (mm)

10

Anzahl Nuten N

3

Verbindungsdurchmesser d1 (mm)

9

Funktionale Länge l1 (mm)

110

Verbindungsdurchmesser d1 (mm)

9

Nutzlänge l3 (mm)

83

Gewindegröße DN

M 12

Vierkantlänge l9 (mm)

10

Spannbreite (mm)

7

Gewindelänge Lc (mm)

23