Zum Inhalt springen

P21360-M48X1.5

https://www.zerspanungsexperten.de/web/image/product.template/33807/image_1920?unique=751c724

HSS-E Maschinen-Gewindebohrer P21360-M48X1.5

Dieses Produkt ist nicht länger verfügbar.

Spezifikationen

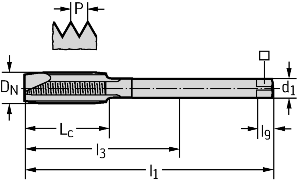
Gewindegrösse D N

MF 48x1.5

Gewindesteigung P (mm)

1,5

Gesamtlänge l 1 (mm)

190

Schneidenlänge L c (mm)

28

Nutzbare Länge l 3 (mm)

87

Schaftdurchmesser d 1 (mm)

36

Spannbreite ⃞ (mm)

29

Vierkantlänge l 9 (mm)

32

Anzahl Nuten N

5

Verbindungsdurchmesser d1 (mm)

36

Funktionale Länge l1 (mm)

190

Verbindungsdurchmesser d1 (mm)

36

Nutzlänge l3 (mm)

87

Gewindegröße DN

MF 48x1.5

Vierkantlänge l9 (mm)

32

Spannbreite (mm)

29

Gewindelänge Lc (mm)

28