Zum Inhalt springen

P21360-M14X1

https://www.zerspanungsexperten.de/web/image/product.template/33765/image_1920?unique=3f5a0df

HSS-E Maschinen-Gewindebohrer P21360-M14X1

Dieses Produkt ist nicht länger verfügbar.

Spezifikationen

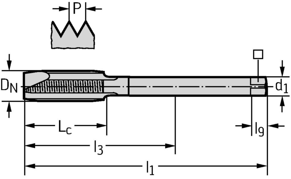
Gewindegrösse D N

MF 14x1

Gewindesteigung P (mm)

1

Gesamtlänge l 1 (mm)

100

Schneidenlänge L c (mm)

21

Nutzbare Länge l 3 (mm)

71

Schaftdurchmesser d 1 (mm)

11

Spannbreite ⃞ (mm)

9

Vierkantlänge l 9 (mm)

12

Anzahl Nuten N

4

Verbindungsdurchmesser d1 (mm)

11

Funktionale Länge l1 (mm)

100

Verbindungsdurchmesser d1 (mm)

11

Nutzlänge l3 (mm)

71

Gewindegröße DN

MF 14x1

Vierkantlänge l9 (mm)

12

Spannbreite (mm)

9

Gewindelänge Lc (mm)

21