Zum Inhalt springen

P21360-M12X1.5

https://www.zerspanungsexperten.de/web/image/product.template/33764/image_1920?unique=92d3bd4

HSS-E Maschinen-Gewindebohrer P21360-M12X1.5

Dieses Produkt ist nicht länger verfügbar.

Spezifikationen

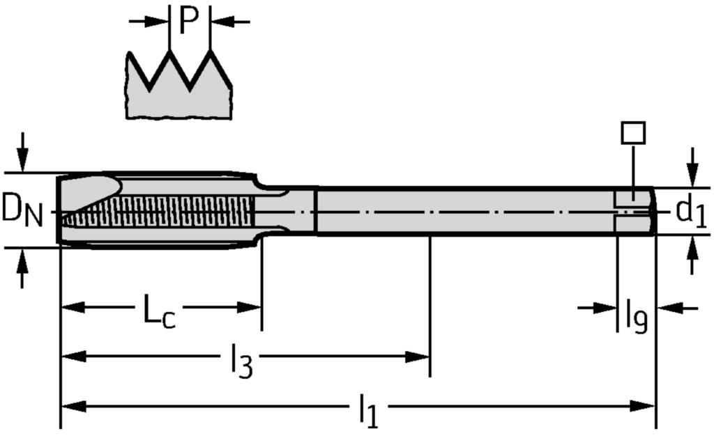
Gewindegrösse D N

MF 12x1.5

Gewindesteigung P (mm)

1,5

Gesamtlänge l 1 (mm)

100

Schneidenlänge L c (mm)

21

Nutzbare Länge l 3 (mm)

73

Schaftdurchmesser d 1 (mm)

9

Spannbreite ⃞ (mm)

7

Vierkantlänge l 9 (mm)

10

Anzahl Nuten N

4

Verbindungsdurchmesser d1 (mm)

9

Funktionale Länge l1 (mm)

100

Verbindungsdurchmesser d1 (mm)

9

Nutzlänge l3 (mm)

73

Gewindegröße DN

MF 12x1.5

Vierkantlänge l9 (mm)

10

Spannbreite (mm)

7

Gewindelänge Lc (mm)

21