Zum Inhalt springen

P2031035-M4

https://www.zerspanungsexperten.de/web/image/product.template/33437/image_1920?unique=24fd7cb

HSS-E Maschinen-Gewindebohrer P2031035-M4

Dieses Produkt ist nicht länger verfügbar.

Spezifikationen

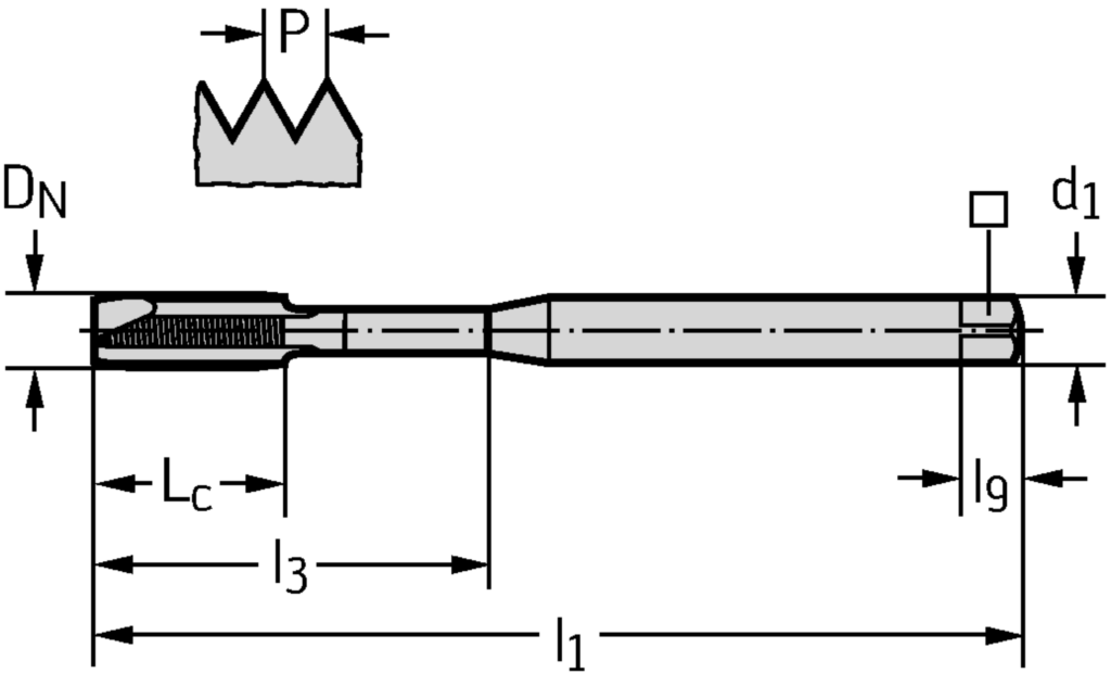
Gewindegrösse D N

M 4

Gewindesteigung P (mm)

0,7

Gesamtlänge l 1 (mm)

112

Schneidenlänge L c (mm)

12

Nutzbare Länge l 3 (mm)

21

Schaftdurchmesser d 1 (mm)

4,5

Spannbreite ⃞ (mm)

3,4

Vierkantlänge l 9 (mm)

6

Anzahl Nuten N

3

Verbindungsdurchmesser d1 (mm)

4,5

Funktionale Länge l1 (mm)

112

Verbindungsdurchmesser d1 (mm)

4,5

Nutzlänge l3 (mm)

21

Gewindegröße DN

M 4

Vierkantlänge l9 (mm)

6

Spannbreite (mm)

3,4

Gewindelänge Lc (mm)

12