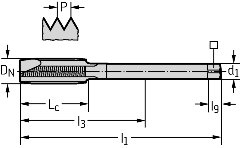
Spezifikationen
|
Gesamtlänge l 1 (mm) |
140 |
|
Schneidenlänge L c (mm) |
26 |
|
Nutzbare Länge l 3 (mm) |
77 |
|
Schaftdurchmesser d 1 (mm) |
20 |
|
Spannbreite ⃞ (mm) |
16 |
|
Vierkantlänge l 9 (mm) |
19 |
|
Anzahl Nuten N |
4 |
|
Gewindegrösse D N -P |
G 3/4-14 |
|
Gewindegrösse D N (mm) |
26,441 |
|
Gang pro Zoll |
14 |
|
Verbindungsdurchmesser d1 (mm) |
20 |
|
Funktionale Länge l1 (mm) |
140 |
|
Verbindungsdurchmesser d1 (mm) |
20 |
|
Nutzlänge l3 (mm) |
77 |
|
Gewindegröße DN-P |
G 3/4-14 |
|
Vierkantlänge l9 (mm) |
19 |
|
Spannbreite (mm) |
16 |
|
Gewindegröße DN (mm) |
26,441 |
|
Gewindelänge Lc (mm) |
26 |

