Zum Inhalt springen

M2126305-M10X1.25

https://www.zerspanungsexperten.de/web/image/product.template/28946/image_1920?unique=36957cb

HSS-E Maschinen-Gewindebohrer M2126305-M10X1.25

Dieses Produkt ist nicht länger verfügbar.

Spezifikationen

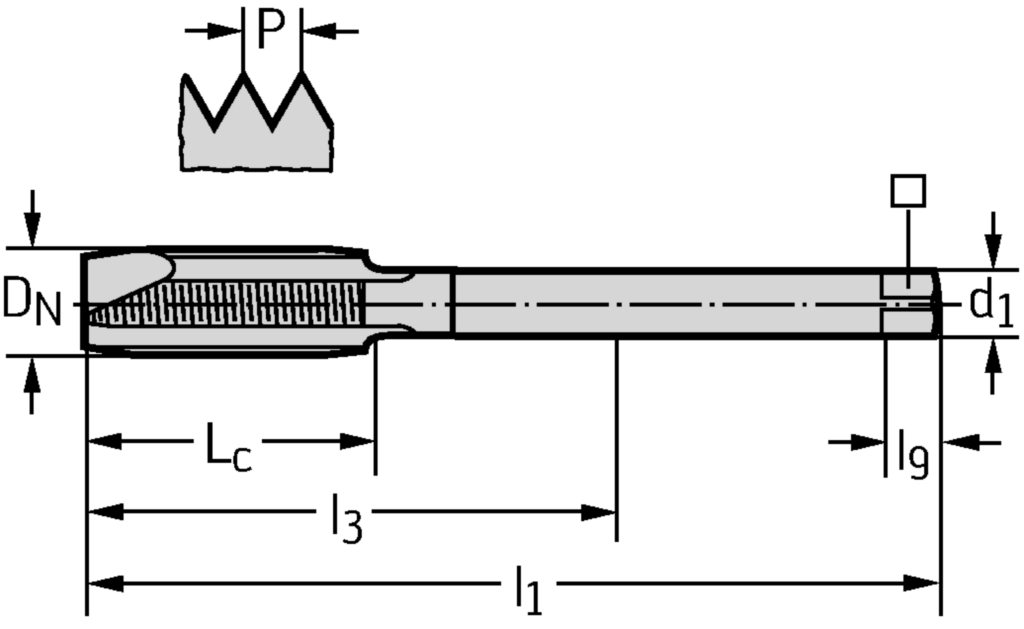
Gewindegrösse D N

MF 10x1.25

Gewindesteigung P (mm)

1,25

Gesamtlänge l 1 (mm)

100

Schneidenlänge L c (mm)

20

Nutzbare Länge l 3 (mm)

77

Schaftdurchmesser d 1 (mm)

7

Spannbreite ⃞ (mm)

5,5

Vierkantlänge l 9 (mm)

8

Anzahl Nuten N

3

Verbindungsdurchmesser d1 (mm)

7

Funktionale Länge l1 (mm)

100

Verbindungsdurchmesser d1 (mm)

7

Nutzlänge l3 (mm)

77

Gewindegröße DN

MF 10x1.25

Vierkantlänge l9 (mm)

8

Spannbreite (mm)

5,5

Gewindelänge Lc (mm)

20