Zum Inhalt springen

E21364-M22X1.5

https://www.zerspanungsexperten.de/web/image/product.template/20644/image_1920?unique=9d3feba

HSS-E-PM Maschinen-Gewindebohrer E21364-M22X1.5

Dieses Produkt ist nicht länger verfügbar.

Spezifikationen

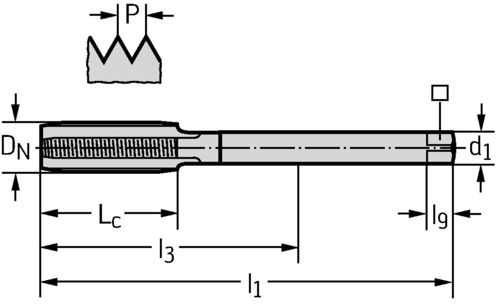
Gewindegrösse D N

MF 22x1.5

Gewindesteigung P (mm)

1,5

Schneidenlänge L c (mm)

24

Nutzbare Länge l 3 (mm)

78

Spannbreite ⃞ (mm)

14,5

Vierkantlänge l 9 (mm)

17

Anzahl Nuten N

5

Funktionale Länge l 1 (mm)

125

Verbindungsdurchmesser d 1 (mm)

18

Verbindungsdurchmesser d1 (mm)

18

Funktionale Länge l1 (mm)

125

Verbindungsdurchmesser d1 (mm)

18

Nutzlänge l3 (mm)

78

Gewindegröße DN

MF 22x1.5

Vierkantlänge l9 (mm)

17

Spannbreite (mm)

14,5

Gewindelänge Lc (mm)

24