Zum Inhalt springen

E20364-M30

https://www.zerspanungsexperten.de/web/image/product.template/20584/image_1920?unique=91ef775

HSS-E-PM Maschinen-Gewindebohrer E20364-M30

Dieses Produkt ist nicht länger verfügbar.

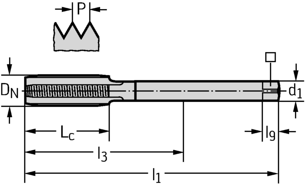
Spezifikationen

Gewindegrösse D N

M 30

Gewindesteigung P (mm)

3,5

Schneidenlänge L c (mm)

42

Nutzbare Länge l 3 (mm)

115

Spannbreite ⃞ (mm)

18

Vierkantlänge l 9 (mm)

21

Anzahl Nuten N

5

Funktionale Länge l 1 (mm)

180

Verbindungsdurchmesser d 1 (mm)

22

Verbindungsdurchmesser d1 (mm)

22

Funktionale Länge l1 (mm)

180

Verbindungsdurchmesser d1 (mm)

22

Nutzlänge l3 (mm)

115

Gewindegröße DN

M 30

Vierkantlänge l9 (mm)

21

Spannbreite (mm)

18

Gewindelänge Lc (mm)

42