Zum Inhalt springen

A2320760-UNF10

https://www.zerspanungsexperten.de/web/image/product.template/122973/image_1920?unique=7ec064a

Dieses Produkt ist nicht länger verfügbar.

Spezifikationen

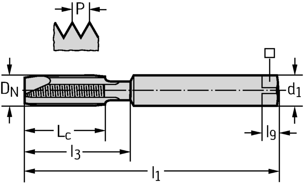
Anzahl Nuten N

3

Verbindungsdurchmesser d1 (inch)

0,194

Verbindungsdurchmesser d1 (inch)

0,194

Nutzlänge l3 (inch)

0,709

Funktionale Länge l1 (inch)

2,378

Gewindegröße DN-P

UNF #10-32

Vierkantlänge l9 (inch)

0,25

Spannbreite (inch)

0,152

Gewindegröße DN (inch)

0,19

Gewindelänge Lc (inch)

0,709