Zum Inhalt springen

A2320760-UNF0

https://www.zerspanungsexperten.de/web/image/product.template/122971/image_1920?unique=450af4d

Dieses Produkt ist nicht länger verfügbar.

Spezifikationen

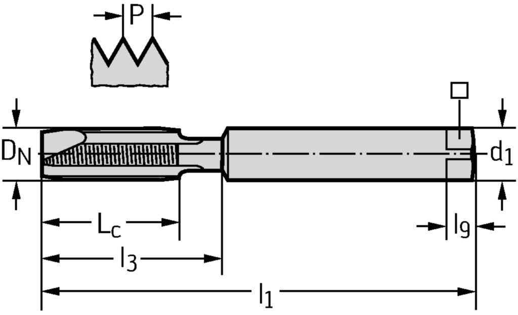
Anzahl Nuten N

2

Verbindungsdurchmesser d1 (inch)

0,141

Verbindungsdurchmesser d1 (inch)

0,141

Nutzlänge l3 (inch)

0,217

Funktionale Länge l1 (inch)

1,626

Gewindegröße DN-P

UNF #0-80

Vierkantlänge l9 (inch)

0,19

Spannbreite (inch)

0,11

Gewindegröße DN (inch)

0,06

Gewindelänge Lc (inch)

0,217