Zum Inhalt springen

8126006-M12X1.5

https://www.zerspanungsexperten.de/web/image/product.template/1659/image_1920?unique=a184e3e

VHM-Maschinen-Gewindebohrer 8126006-M12X1.5

Dieses Produkt ist nicht länger verfügbar.

Spezifikationen

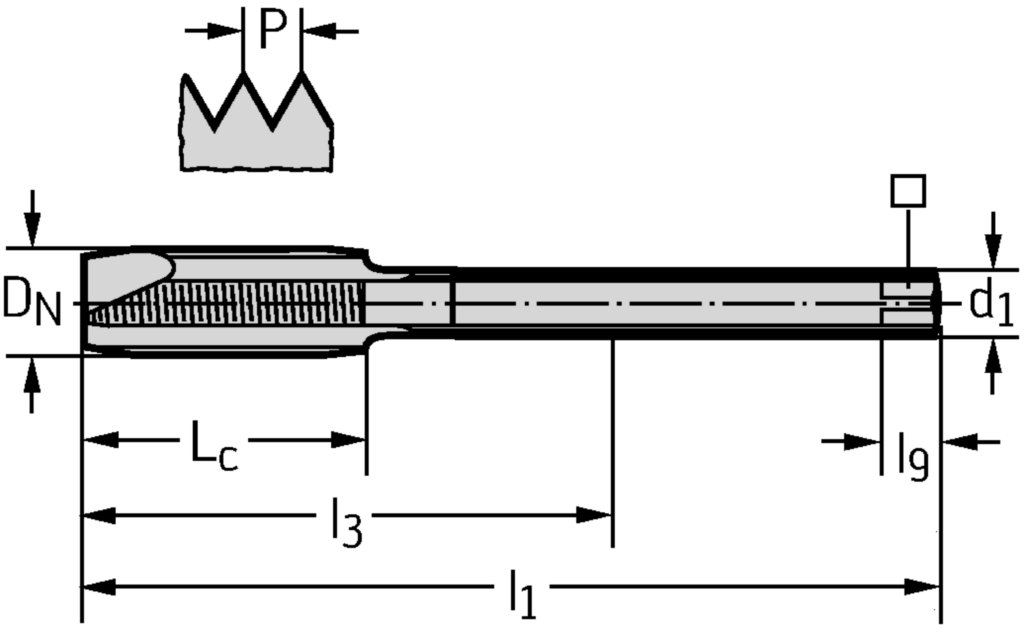
Gewindegrösse D N

MF 12x1.5

Gewindesteigung P (mm)

1,5

Gesamtlänge l 1 (mm)

100

Schneidenlänge L c (mm)

21

Nutzbare Länge l 3 (mm)

73

Schaftdurchmesser d 1 (mm)

9

Spannbreite ⃞ (mm)

7

Vierkantlänge l 9 (mm)

10

Anzahl Nuten N

5

Verbindungsdurchmesser d1 (mm)

9

Funktionale Länge l1 (mm)

100

Verbindungsdurchmesser d1 (mm)

9

Nutzlänge l3 (mm)

73

Gewindegröße DN

MF 12x1.5

Vierkantlänge l9 (mm)

10

Spannbreite (mm)

7

Gewindelänge Lc (mm)

21