Spezifikationen
|
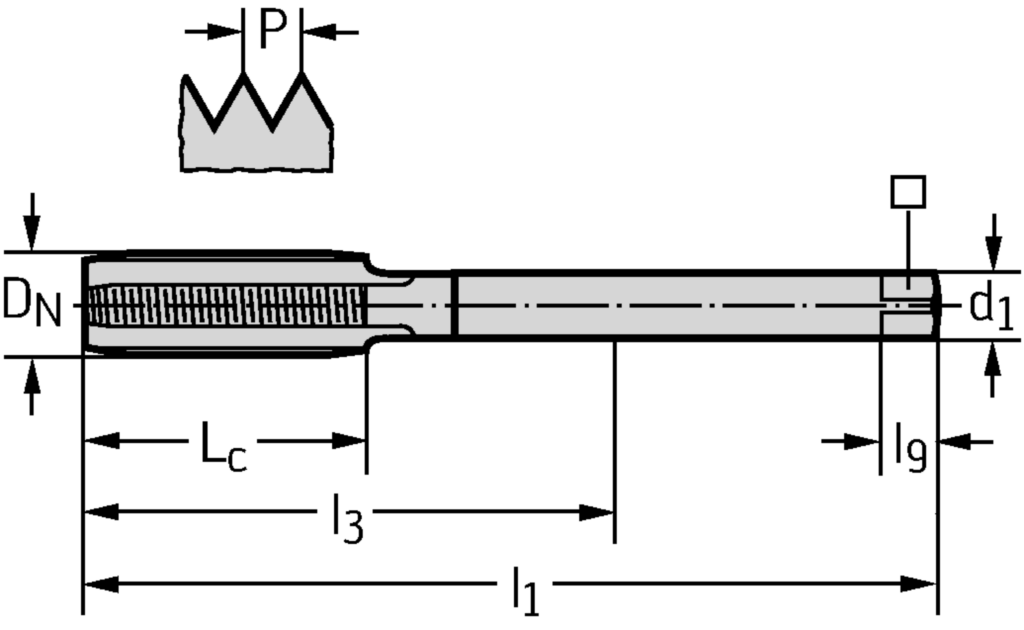
Gewindegrösse D N |
MF 52x2 |
|
Gewindesteigung P (mm) |
2 |
|
Schneidenlänge L c (mm) |
32 |
|
Nutzbare Länge l 3 (mm) |
60 |
|
Spannbreite ⃞ (mm) |
32 |
|
Vierkantlänge l 9 (mm) |
35 |
|
Anzahl Nuten N |
6 |
|
Funktionale Länge l 1 (mm) |
190 |
|
Verbindungsdurchmesser d 1 (mm) |
40 |
|
Verbindungsdurchmesser d1 (mm) |
40 |
|
Funktionale Länge l1 (mm) |
190 |
|
Verbindungsdurchmesser d1 (mm) |
40 |
|
Nutzlänge l3 (mm) |
60 |
|
Gewindegröße DN |
MF 52x2 |
|
Vierkantlänge l9 (mm) |
35 |
|
Spannbreite (mm) |
32 |
|
Gewindelänge Lc (mm) |
32 |

