Zum Inhalt springen

20160-M4

https://www.zerspanungsexperten.de/web/image/product.template/12/image_1920?unique=338f2b6

HSS-E Gewindebohrer, kurz 20160-M4

Dieses Produkt ist nicht länger verfügbar.

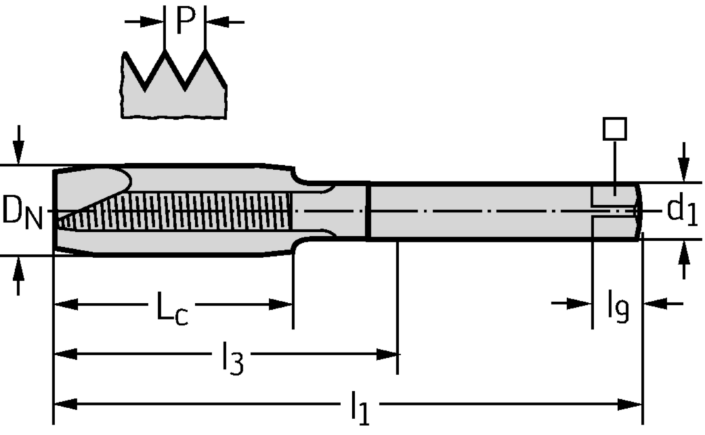
Spezifikationen

Gewindegrösse D N

M 4

Gewindesteigung P (mm)

0,7

Gesamtlänge l 1 (mm)

45

Schneidenlänge L c (mm)

11

Nutzbare Länge l 3 (mm)

16,5

Schaftdurchmesser d 1 (mm)

4,5

Spannbreite ⃞ (mm)

3,4

Vierkantlänge l 9 (mm)

6

Anzahl Nuten N

3

Verbindungsdurchmesser d1 (mm)

4,5

Funktionale Länge l1 (mm)

45

Verbindungsdurchmesser d1 (mm)

4,5

Nutzlänge l3 (mm)

16,5

Gewindegröße DN

M 4

Vierkantlänge l9 (mm)

6

Spannbreite (mm)

3,4

Gewindelänge Lc (mm)

11